ТТ 10

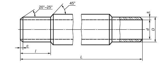
Чертеж изделия:
Характеристики изделия:
ПараметрЗначение
длина3950 мм
ширина122 мм
высота122 мм
масса46,21 кг
нормативный документГОСТ 31416-2009

ТТ 10  Хризотилцементные напорные трубы отопления  ГОСТ 31416-2009.