КВ 48

Чертеж изделия:
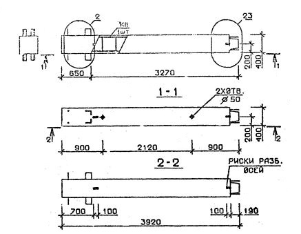
Характеристики изделия:
ПараметрЗначение
длина3920 мм
ширина400 мм
высота400 мм
масса1567 кг
нормативный документСерия 1.020.1-2с/89

КВ 48 Колонны верхние Серия 1.020.1-2с/89.