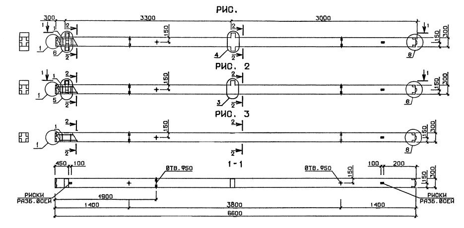
2КД 3.33

Чертеж изделия:
Характеристики изделия:
ПараметрЗначение
длина6600 мм
ширина300 мм
высота600 мм
масса1620 кг
нормативный документСерия 1.020.1-3пв

2КД 3.33  Колонны двухконсольные Серия 1.020.1-3пв.