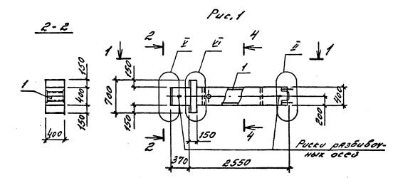
1КВД 36.00-3.20.00

Чертеж изделия:
Характеристики изделия:
ПараметрЗначение
длина2920 мм
ширина400 мм
высота700 мм
масса1220 кг
нормативный документСерия 1.020.1-4

1КВД 36.00-3.20.00    Колонны двухконсольные для верхних этажей (Серия 1.020.1-4).