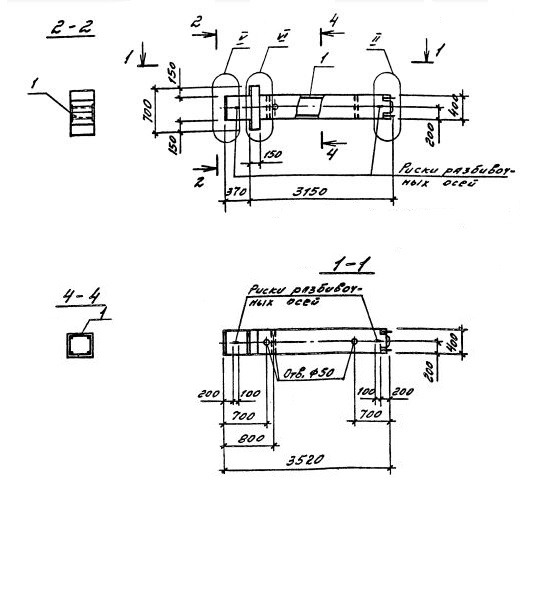
1КВД 42.00-3.28.00

Чертеж изделия:
Характеристики изделия:
ПараметрЗначение
длина3520 мм
ширина400 мм
высота700 мм
масса1450 кг
нормативный документСерия 1.020.1-4

1КВД 42.00-3.28.00    Колонны двухконсольные для верхних этажей (Серия 1.020.1-4).