2КНД 60.60

Чертеж изделия:
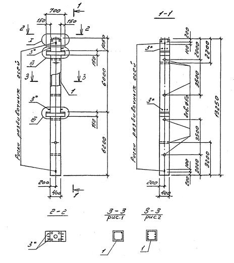
Характеристики изделия:
ПараметрЗначение
длина13250 мм
ширина400 мм
высота700 мм
масса5400 кг
нормативный документСерия 1.020.1-4

2КНД 60.60    Колонны двухконсольные для нижних этажей (Серия 1.020.1-4).

Маркировка с учетом диаметра угловых и промежуточных стержней арматуры, в мм. и марки бетона:

2КНД 60.60-3.20.00

2КНД 60.60-3.22.00

2КНД 60.60-3.25.00

2КНД 60.60-3.32.00

2КНД 60.60-4.32.00

2КНД 60.60-3.36.00

2КНД 60.60-4.36.00

2КНД 60.60-5.36.00

2КНД 60.60-3.40.00

2КНД 60.60-4.40.00

2КНД 60.60-5.40.00

2КНД 60.60-5.32.28

2КНД 60.60-6.32.28

2КНД 60.60-5.36.32

2КНД 60.60-6.36.32

2КНД 60.60-6.36.36

2КНД 60.60-5.40.22

2КНД 60.60-6.40.22

2КНД 60.60-6.40.36

2КНД 60.60-6.40.40