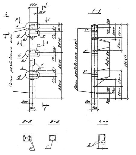
3КНО 36.36
Характеристики изделия:
| Параметр | Значение |
|---|---|
| длина | 12050 мм |
| ширина | 400 мм |
| высота | 550 мм |
| масса | 4900 кг |
| нормативный документ | Серия 1.020.1-4 |
Цена:
Рассчитать стоимость3КНО 36.36 Колонны одноконсольные для нижних этажей (Серия 1.020.1-4).
Маркировка с учетом диаметра угловых и промежуточных стержней арматуры, в мм. и марки бетона:
3КНО 36.36-3.20.00
3КНО 36.36-3.22.00
3КНО 36.36-3.25.00
3КНО 36.36-3.28.00
3КНО 36.36-3.32.00
3КНО 36.36-4.32.00
3КНО 36.36-5.32.00
3КНО 36.36-3.36.00
3КНО 36.36-5.36.00
3КНО 36.36-3.40.00
3КНО 36.36-4.40.00
3КНО 36.36-5.40.00