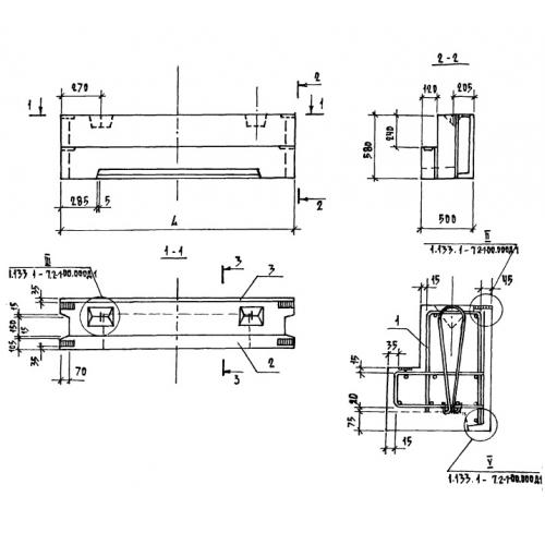
3БН 21.6.50

Чертеж изделия:
Характеристики изделия:
ПараметрЗначение
длина2080 мм
ширина500 мм
высота580 мм
вес680 кг
серия1.133.1-7

3БН 21.6.50 Блоки перемычечные по серии 1.133.1-7.