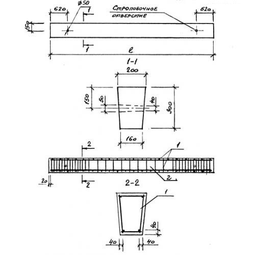
ФБ 51-20 балки фундаментные
Характеристики изделия:
| Параметр | Значение |
|---|---|
| длина | 5050 мм |
| ширина | 200 мм |
| высота | 300 мм |
| масса | 680 кг |
| нормативный документ | Серия 1.415-1 |
Цена:
Рассчитать стоимостьФБ 51-20 Балки фундаментные Серия 1.415-1.
| Параметр | Значение |
|---|---|
| длина | 5050 мм |
| ширина | 200 мм |
| высота | 300 мм |
| масса | 680 кг |
| нормативный документ | Серия 1.415-1 |
ФБ 51-20 Балки фундаментные Серия 1.415-1.
