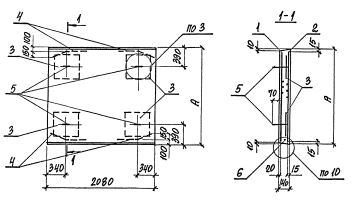
ПДУ 220.210.14 плиты днища

Чертеж изделия:
Характеристики изделия:
ПараметрЗначение
длина2170 мм
ширина2080 мм
высота140 мм
масса1575 кг
нормативный документСерия 3.006.1-8

ПДУ 220.210.14  Плиты днища каналов угловые Серия 3.006.1-8.