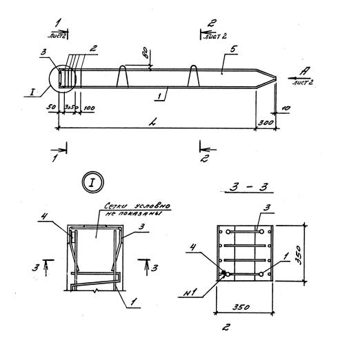
СУ 12-35

Чертеж изделия:
Характеристики изделия:
ПараметрЗначение
длина12000 мм
ширина350 мм
высота350 мм
масса3730 кг
нормативный документСерия 3.016.1-9

СУ 12-35  Сваи-колонны усиленного армирования (для особых климатических условий) Серия 3.016.1-9.