2Ф
Характеристики изделия:
| Параметр | Значение |
|---|---|
| длина | 2340 мм |
| ширина | 2040 мм |
| высота | 1560 мм |
| вес | 7600 кг |
| серия | 3.501.1-150 |
Цена:
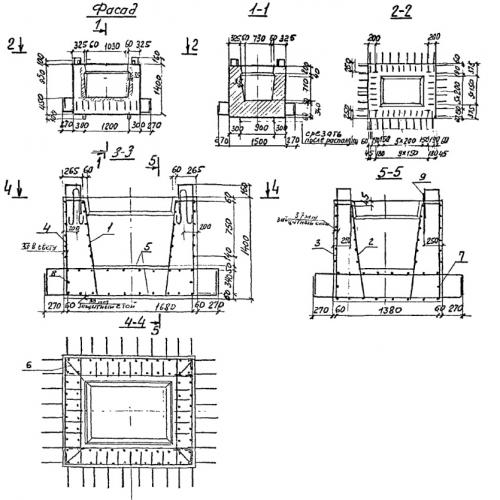
Рассчитать стоимость2Ф Фундаментные стаканы по серии 3.501.1-150.
| Параметр | Значение |
|---|---|
| длина | 2340 мм |
| ширина | 2040 мм |
| высота | 1560 мм |
| вес | 7600 кг |
| серия | 3.501.1-150 |
2Ф Фундаментные стаканы по серии 3.501.1-150.
