РС 1
Характеристики изделия:
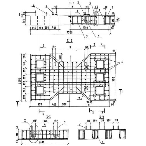
| Параметр | Значение |
|---|---|
| длина | 3500 мм |
| ширина | 2050 мм |
| высота | 400 мм |
| вес | 5500 кг |
| серия | 3.501.1-153 |
Цена:
Рассчитать стоимостьРС 1 Ростверки свайные по серии 3.501.1-153.
| Параметр | Значение |
|---|---|
| длина | 3500 мм |
| ширина | 2050 мм |
| высота | 400 мм |
| вес | 5500 кг |
| серия | 3.501.1-153 |
РС 1 Ростверки свайные по серии 3.501.1-153.
