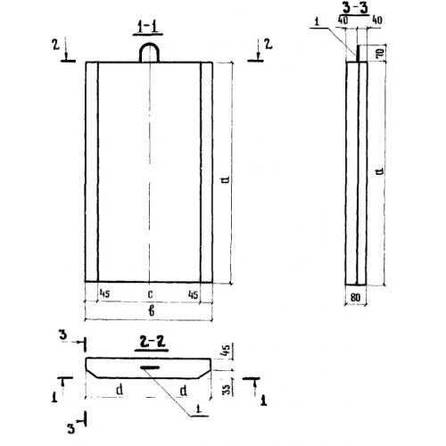
П-2 блок плиты

Чертеж изделия:
Характеристики изделия:
ПараметрЗначение
длина850 мм
ширина490 мм
высота80 мм
вес80 кг
серия3.503.1-66

П-2 Блоки плит по серии 3.503.1-66.