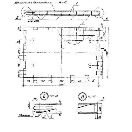
4ПО 25

Чертеж изделия:
Характеристики изделия:
ПараметрЗначение
длина3000 мм
ширина2000 мм
высота250 мм
вес3800 кг
серия3.505.1-16

4ПО 25 Плиты омоноличенные по серии 3.505.1-16.