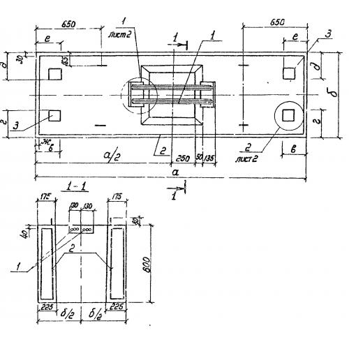
КАП 2

Чертеж изделия:
Характеристики изделия:
ПараметрЗначение
длина2800 мм
ширина950 мм
высота800 мм
вес4750 кг
серия3.702-1/79

КАП 2 Капители  по серии 3.702-1/79.