ПОГ 69.105

Чертеж изделия:
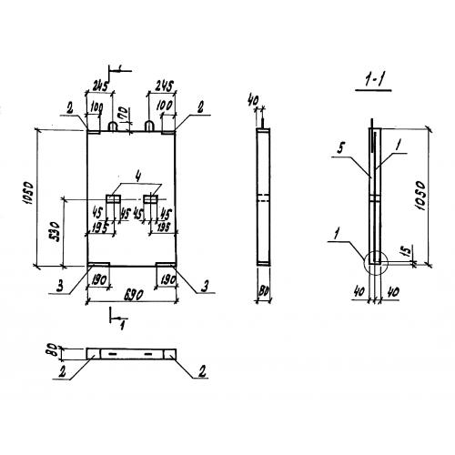
Характеристики изделия:
ПараметрЗначение
длина690 мм
ширина80 мм
высота1050 мм
вес150 кг
серия3.818.9-2

ПОГ 69.105 Панели ограждения станков, выгульных площадок и резделительных секций по серии 3.818.9-2.