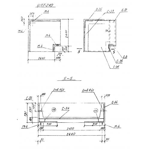
УЛТ 210

Чертеж изделия:
Характеристики изделия:
ПараметрЗначение
длина2960 мм
ширина2960 мм
высота730 мм
масса5000 кг
нормативный документСерия 3.903 КЛ-14

УЛТ 210   Угловые лотки теплофикационные по Серии 3.903 КЛ-14.