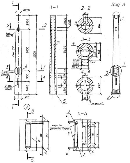
СКЦ 11.5-51(18)
Характеристики изделия:
| Параметр | Значение |
|---|---|
| Длина L | 11500 мм |
| Диаметр D1 | 373 мм |
| Диаметр D2 | 200 мм |
| Вес | 1230 кг |
| Серия | Б3.507.1-3.04 |
| Норма погрузки на машину (20тн) | 16 шт |
| Вагонная норма погрузки | - |
Цена:
Рассчитать стоимостьСтойка СКЦ 11,5-51(18) изготавливается согласно нормам серии Б3.507.1-3.04. Данные стойки предназначены для опор наружного освещения и контактных сетей городского транспорта с кабельной подводкой питания. Стойки СКЦ представляют собой усеченный конус со сквозным каналом внутри.
