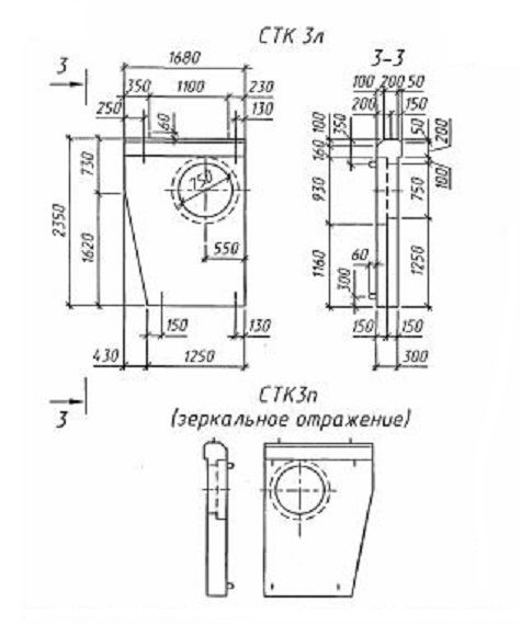
СТК 3
Характеристики изделия:
| Параметр | Значение |
|---|---|
| длина | 2350 мм |
| ширина | 1680 мм |
| высота | 350 мм |
| масса | 2300 кг |
| нормативный документ | Шифр 1484 |
Цена:
Рассчитать стоимостьСТК 3 Стенки портальные по Шифру 1484.
| Параметр | Значение |
|---|---|
| длина | 2350 мм |
| ширина | 1680 мм |
| высота | 350 мм |
| масса | 2300 кг |
| нормативный документ | Шифр 1484 |
СТК 3 Стенки портальные по Шифру 1484.